Microsoft กำลังซุ่มทำกล้องระดับ world-class เตรียมลง Surface Duo

เราได้เห็น Microsoft ทำเซอร์ไพรส์วงการสมาร์ทโฟนด้วยการเปิดตัว Surface Duo สมาร์ทโฟนพับได้ที่รันด้วยระบบปฏิบัติการ Android ซึ่งก็ได้ผลเกินคาด ผู้คนเริ่มให้ความสนใจและตั้งคำถามมากมาย. ล่าสุดในงาน Surface event ที่ทาง Microsoft จัดขึ้นที่ประเทศเยอรมันนี สื่อต่างยิงคำถามมากมายเกี่ยวกับ Surface Duo ไปที่ Panos Panay หัวหน้าฝ่ายผลิตภัณฑ์. Panos ไม่ได้มีการเปิดเผยข้อมูลมากนัก แต่บอกเพียงว่า Microsoft กำลังทำกล้องระดับ world-class อยู่.
อย่างที่เราได้เห็นในตัวต้นแบบเมื่อตอนเปิดตัว Surface Duo ไม่ได้มีการพูดถึงกล้องหลังแต่อย่างได มีเพียงกล้องหน้าที่เอาไว้สำหรับวีดีโอคอลและเซลฟี่เท่านั้น. Microsoft มีเวลาจากนี้ไป 1 ปีก่อนถึงวันกำหนดเปิดตัว Surface Duo ซึ่งแน่นอน 1 ปี อะไรๆก็เปลี่ยนไปได้ทั้งนั้น และมาดูกันว่า กล้องระดับ world-class ที่ว่านี้จะเจ๋งแค่ไหน.

ภาพ : gsmarena
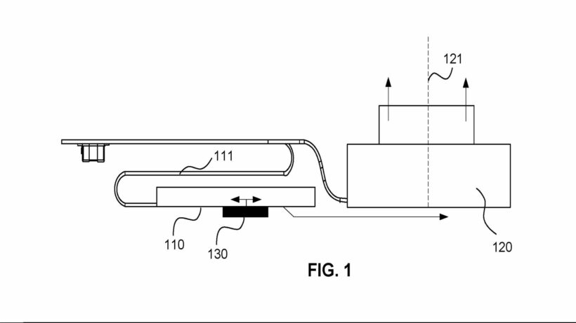
ก่อนหน้านี้ Microsoft ได้มีการจดสิทธิบัตรนวัตกรรมกล้องแบบใหม่ ที่เป็นการใช้เซ็นเซอร์และชิ้นเลนส์แยกกันและสามารถขยับเข้าหากันได้ด้วยมอเตอร์ไฟฟ้า ซึ่งยังไม่ค่อยมีความชัดเจนว่าจะทำงานอย่างไร, แต่นี่อาจจะเป็นตัวเล่นใหม่ที่ Microsoft เตรียมทำเซอร์ไพรส์อีกรอบก็เป็นได้.
ที่มา : gsmarena
ติดตาม The Thaiger บน Google News:





